ru en
+7 (383) 203-27-12 +7 (383) 203-27-13 +7 (383) 203-27-14 +7 (383) 2-280-280
г. Новосибирск,
ул. Жуковского, 102,
оф. 701, 702
sibvk@ya.ru
Главная
Продукция для взрывных работ
Продукция ООО «КТБ «Интервал»
Измеритель микросекундных интервалов времени ИВИ-4

Измеритель микросекундных интервалов времени ИВИ-4

Заявка на этот товар

Разработчик ООО КТБ «Интервал», ТУ 26.51.43-001-32567346-2021.

Зарегистрирован как средство измерения Федеральным государственным унитарным предприятием «Всероссийский научно – исследовательский институт физико-технических и радиотехнических измерений» (ФГУП «ВНИИФТРИ») приказом номер 88173-23.

Измеритель микросекундных интервалов времени ИВИ-4

Назначение устройства

В ряде специальных работ, связанных с воздействием взрыва (разрушение горных пород, разрушение конструкций, сварка взрывом, геофизическая и сейсмическая разведка) необходимо весьма точно представлять реальную скорость развития детонационного процесса в заряде взрывчатого вещества. В настоящее время появилось значительное количество взрывчатых материалов (ВМ) эмульсионного типа, гелевых, простейших смесевых, патронированных и насыпных, которые в отличие от ВМ индивидуального типа (гексоген, тетранитропентаэритрит, тротил и т.д.) не обладают стабильной скоростью детонации и, в зависимости от условий (диаметра, толщины слоя насыпного заряда, плотности влажности и т.д.), способны существенно менять скорость взрывчатого разложения от взрывного горения до числовых показателей полноценной детонации. Так же – иногда существенным бывает отслеживание характеристик развития детонационных процессов на стыке сред и в сложных рассредоточенных зарядах.

Для этих целей нами разработан прибор, позволяющий измерять скорость как непосредственно на месте применения ВМ, так и на испытательном полигоне для контроля качества партии изготовленного ВВ. Разработаны и испытаны специальные датчики, позволяющие сделать контрольные замеры фактического замедления на электродетонаторах и на неэлектрических системах инициирования.

Прибор представляет собой электронное устройство с доступным интерфейсом, подключаемым к четырем внешним кабельным каналам, на концах которых располагаются датчики замыкания. В нормальном положении датчик показывает разрыв цепи, при воздействии внешними быстротекущими процессами происходит замыкание (любой длительности). Прибор фиксирует короткие замыкания (КЗ) или последовательность КЗ на датчиках только в момент наступления этих событий и измеряет интервалы времени между ними. Датчик, при этом разрушается, но факт его срабатывания прибором уже зафиксирован. Диапазон измерений от 3 мкс до 9.9 с.

В качестве кабеля от прибора до датчика может быть использована обычная витая пара, любой двухжильный кабель, в том числе и  коаксиальный. Сопротивлением кабеля можно пренебречь. Анализируется разрыв и короткое замыкание, любое импульсное изменение сопротивления магистрали к датчику прибором будет зафиксировано, даже если это событие было весьма кратковременным. Ниже представлен сам датчик короткого замыкания, поставляемый с прибором и далее в рамках дополнительных заказов, так как является одноразовым и уничтожается детонационной волной. На левом снимке датчик в комплекте поставки:
1 — провод к средству измерения;
2 — зона датчика короткого замыкания;
3 — удаляемая плашка контроля цепи.

Справа — датчик с удаленной плашкой, готовый для измерения.

Пример монтажа датчика на тестируемый патрон с капсюлечувствительным эмульсионным составом.

Измеритель микросекундных интервалов времени ИВИ-4

Для получения результата оценки скорости прохождения детонационной волны в м/с требуется разделить расстояние между датчиками в метрах на время полученное на экране прибора и умножить на 1 000 000.

Мы видим полученный результат где между первым и вторым каналом прибора (а значит между замыканием первого и второго датчика) прошло время 27,4 микросекунды!

Расстояние между установленными датчиками 0,125 метра, время прохождения детонационной волны между этими точками известно.

V — скорость детонации тестируемого патрона:

V=0,125/27,4*1 000 000=4 562,04 м/с.

Кому привычней в километрах в секунду 4,562 км/с. Неплохой, кстати, эмульсионный боевичок.

С помощью устройства можно проводить измерения скорости детонации взрывчатого материала в скважине или в шпуре. Для этого необходимо использовать относительно жесткий пластиковый профиль или  деревянную рейку (например оконный штапик) на котором через замеренный интервал размещаются датчики. Размещение датчиков на жестком профиле позволяет избежать их смещение, относительно друг друга, и точно зафиксировать расстояние.

1. На Фото последовательно показано размещение стартового и финишного датчиков на профиле. Скотч, фиксирующий датчик на профиле, наносится таким образом, чтобы не закрывать замыкающуюся зону датчика.

Стартовый, финишный, расстояние между, делаем надпись на профиле и фото.

При установке профиля с датчиками в скважину со стороны стартового датчика необходимо подвесить груз, достаточный чтобы зафиксировать тестовую сборку в вертикальном положении после зарядки тестируемым ВВ.

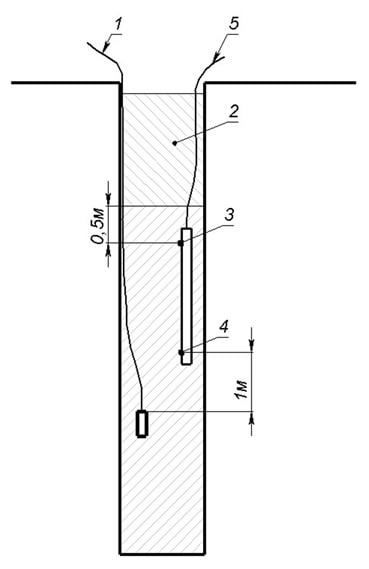
Примерная схема монтажа для измерения в скважине выглядит так:

Измеритель микросекундных интервалов времени ИВИ-4

1. Линия инициирования и боевик в среде тестируемого ВМ;

2. Забойка;

3. Финишный датчик на профиле;

4. Стартовый датчик на профиле;

5. Магистраль от датчиков к прибору измерения скорости детонации. После установки датчиков в скважину вымотать магистральную линии на безопасное расстояние (50-100 м); Включить прибор в режим «Внимание!!! Готовность к измерению», накрыть прибор (например, стальным автомобильным диском) и произвести взрывание.

6. После взрыва и проветривания карьера – сфотографировать показания прибора.

В реальных условиях произведен замер скорости наливного ВМ.

Для получения результата в м/с требуется разделить расстояние между датчиками (в метрах) на время между каналами и умножить на 1 000 000.

Пример: расстояние между датчиками 1,415 м, зафиксированное прибором время 485,8 мкс, получаем:

V=1,415/485,8*1 000 000= 2912,72 м/с

Измеритель микросекундных интервалов времени ИВИ-4

Заявка на этот товар

Новости Все новости